0755-8666 2592
深圳国威电子有限公司
深圳市罗湖区莲塘罗沙路3038号国威大厦
gw@gwtx.com.cn
国威HB1981广播系统,支持广播通知,广播喊话等功能,当发起广播后,广播组内所有终端都会接收到广播内容。
HB1981电话广播系统设置步骤如下:
1:创建寻呼广播组。
a.选择“用户管理 > 组业务 > 寻呼组”。
b.单击“创建”。
c.配置寻呼广播组号,如下图所示:


组号:用于唯一标识寻呼广播组。
名称:寻呼广播组的名称,便于更好地被识别。
局内发起方
允许作为寻呼广播发起方的局内用户:
组内用户:仅寻呼广播组内用户可发起。
局内用户:所有局内用户均可发起。
指定用户:指定的局内用户才可发起。
局外发起方
允许作为寻呼广播发起方的局外用户:
无:所有局外用户均不可发起。
所有用户:所有局外用户均可发起
指定用户:指定的局外用户才可发起。
优先级
寻呼广播和免打扰业务的优先级顺序:
寻呼广播:寻呼广播业务优先(缺省值)。系统将忽略寻呼广播接收方的免打扰业务而强制在接收方话机上播放来自该寻呼广播组的广播。
免打扰:免打扰业务优先。登记了免打扰业务的用户话机上不会播放来自该寻呼广播组的广播。
配置寻呼广播发起方(可选)
当寻呼广播组的局内/局外发起方配置为“指定用户”时,需要执行本步骤。
在寻呼广播组管理界面中,单击待配置寻呼广播组,如下图:

配置寻呼广播发起方关键参数说明
成员号码:寻呼广播发起方的电话号码。如果发起方为局外用户,该参数应设置为入局后的主叫号码。
发起方类型:寻呼广播发起方是局内用户还是局外用户。
号码间隔、数量:批量添加时的号码间隔和数量。当配置多个寻呼广播发起方时,可以采用批量配置方法一次性自动添加。
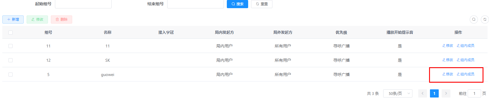
配置寻呼广播组成员。
在寻呼广播组管理界面中,单击待配置寻呼广播组“操作”列中的“组内成员”,如下图所示。

创建广播组的接入码。
选择“中继管理 > 被叫字冠配置”。
单击“创建”。
配置寻呼广播组的接入码,如下图所示。单击“确定”。
例如:配置寻呼广播组1的接入码为199。


当有权限发起广播的用户,拨打199广播号,即可发起该组的广播功能,所有分机都可以接收到广播信息或者广播通知。